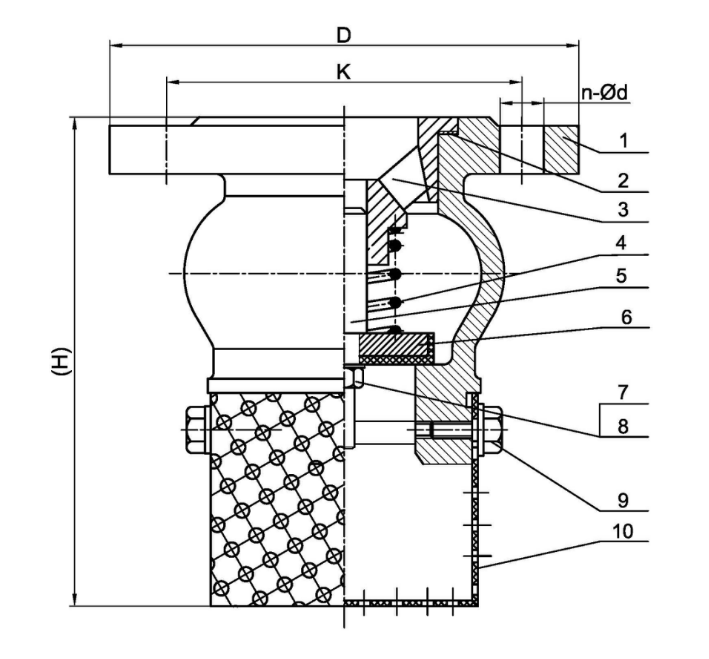
1、Materials:
No. | Part Name | Material |
1 | Body | Ductile iron/CS/SS |
2 | Gasket | PTFE |
3 | Bonnet | Ductile iron/CS/SS |
4 | Spring | SS304/SS316 |
5 | Guiding Stem | SS410/SS304/Brass HPb59-1 |
6 | Disc | WCB&Ductile iron+EPDM |
7 | Nut | SS304/SS316 |
8 | Washer | SS304/SS316 |
9 | Bolt | SS304/SS316 |
10 | Filter screen | SS304/SS316 |
2、Main technical parameters:
Nominal pressure:PN10/PN16/PN25/PN40/PN64、125LB/150LB、5K/10K/16K
Flange connection standard:GB/T17241.6,GB/T9113-2010,EN1092-2,ANSI B16.1/B16.5,JIS B2212
Test standard:GB/T13927-2008,API598
Applicable media:water, oil, gas, etc

3、Maximum pressure conditions:
Size | Max Pressure (bar) | Min/Max Temp (℃) | Test Pressure(bar) |
Shell | Seat |
DN40-DN400 | 10.0/16.0 | -10℃+100℃ | 15.0/24.0 | 11.0/17.6 |
4、Dimensions:
DN(mm)& INCH | JIS B2212 | EN1092-2 | ANSI B16.1 | H |
D(10K) | D(16K) | K | n-φd | D(PN10) | D(PN16) | K | n-φd | CL125/150 |
D | K | n-Φd |
|
40(1.1/2") | 140 | 140 | 105 | 4-19 | 150 | 150 | 110 | 4-19 | 127 | 98.5 | 4-15 | - |
50(2") | 155 | 155 | 120 | 4-19/8-19 | 165 | 165 | 125 | 4-19 | 152 | 120.5 | 4-19 | 166 |
65(2.1/2") | 175 | 175 | 140 | 4-19/8-19 | 185 | 185 | 145 | 4-19 | 178 | 139.5 | 4-19 | 201 |
80(3") | 185 | 200 | 150/160 | 8-19/8-23 | 200 | 200 | 160 | 8-19 | 190 | 152.5 | 4-19 | 221 |
100(4") | 210 | 225 | 175/185 | 8-19/8-23 | 220 | 220 | 180 | 8-19 | 229 | 190.5 | 8-19 | 265 |
125(5") | 250 | 270 | 210/225 | 8-23/8-25 | 250 | 250 | 210 | 8-19 | 254 | 216 | 8-22 | 300 |
150(6") | 280 | 305 | 240/260 | 8-23/12-25 | 285 | 285 | 240 | 8-23 | 279 | 241.5 | 8-22 | 360 |
200(8") | 330 | 350 | 290/305 | 12-23/12-25 | 340 | 340 | 295 | 8-23/12-23 | 343 | 298.5 | 12-22 | 470 |
250(10") | 400 | 430 | 355/380 | 12-25/12-27 | 395 | 405 | 350/355 | 12-23/12-27 | 406 | 362 | 12-25 | 568 |
300(12") | 445 | 480 | 400/430 | 16-25/16-27 | 445 | 460 | 400/410 | 12-23/12-27 | 483 | 432 | 12-25 | 653 |
350(14") | 490 | 540 | 445/480 | 16-25/26-33 | 505 | 520 | 460/470 | 16-23/16-27 | 533 | 476.5 | 12-29 | 670 |
400(16") | 560 | 605 | 510/540 | 16-27/16-33 | 565 | 580 | 515/525 | 16-27/16-32 | 597 | 539.5 | 16-29 | 720 |
450(18") |
|
|
|
|
|
|
|
|
|
|
|
|
500(20") |
|
|
|
|
|
|
|
|
|
|
|
|
600(24") |
|
|
|
|
|
|
|
|
|
|
|
|